福特公布“模拟手动挡”专利:让电动汽车重拾驾驶乐趣
本站 4 月 2 日消息,对于汽车发烧友来说,大多数纯电动车都缺乏手动挡燃油车拉高转速时带来的激情,而车企也意识到了这一点,开始尝试新的方案。据外媒 Carscoops 今日报道,在丰田、现代之后,福特也加入了“手动挡纯电”实验的行列。

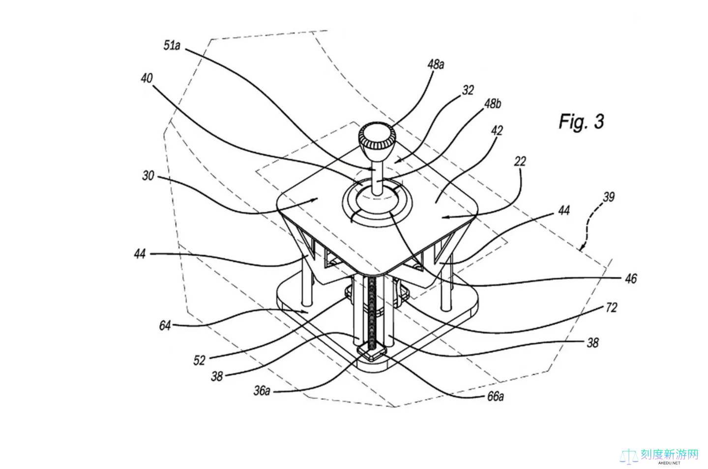
福特近期公布的专利显示,该系统通过执行器、垂直驱动杆、垂直导向杆和电机来模拟换挡结构。听起来复杂,实际上它可以根据设定模拟不同形式的手动变速箱,甚至支持简单的顺序式换挡。
福特指出,这项技术不仅仅是噱头,还能通过触觉反馈增强驾驶体验。专利文件还提到,纯电动车缺乏燃油车那种人与车之间的物理互动,而这种互动对驾驶感受至关重要。

不过,虽然福特早在 18 个月前就提交了这项专利,但它是否会真正量产仍是未知数。报道称,若福特未来推出真正的纯电 Mustang 跑车(本站注:此处指的不是“电马”Mach-E)或一款高性能电动小钢炮,这项技术或许会派上用场。但在那之前,它可能还只是个停留在专利文件里的创意。
文章版权声明:除非注明,否则均为
刻度新游网
原创文章,转载或复制请以超链接形式并注明出处。

还没有评论,来说两句吧...